Dysze pełnostożkowe seria AT
Dysze pełnostożkowe AT – intensywna rotacja i stabilny natrysk
Dysza pełnostożkowa typu AT została zaprojektowana w celu uzyskania silnej rotacji cieczy w komorze wirowej, co przekłada się na wysoki poziom atomizacji oraz równomierne rozprowadzenie natrysku na całym obszarze stożka. Konstrukcja komory wirowej pozbawiona zwężonych przekrojów sprawia, że dysze AT są znacznie mniej podatne na zatykanie, nawet podczas pracy z mediami zawierającymi zanieczyszczenia. Dodatkowo, specjalnie zaprojektowana końcówka umieszczona na dnie dyszy wzmacnia efekt atomizujący, zwiększając skuteczność procesów takich jak chłodzenie czy absorpcja gazów. Taka geometria nie tylko poprawia jakość natrysku, ale również wydłuża żywotność dyszy nawet o 20%, co przekłada się na niższe koszty eksploatacyjne.
Materiały i zastosowanie przemysłowe
Dysze pełnostożkowe AT dostępne są w wykonaniu z: stali nierdzewnej 316L, stali nierdzewnej 303, mosiądzu. Pozwala to na ich precyzyjne dopasowanie do warunków temperaturowych, agresywności chemicznej medium oraz wymagań instalacji.
Dysze AT znajdują główne zastosowanie w przemyśle chemicznym, w szczególności w procesach: oczyszczania spalin, chłodzenia gazów, instalacjach wymagających wysokiej atomizacji oraz stabilnego pełnego stożka natrysku. Połączenie rotacyjnej atomizacji, odporności na zatykanie i wydłużonej żywotności sprawia, że dysze pełnostożkowe AT są wydajnym i niezawodnym rozwiązaniem dla wymagających aplikacji procesowych.
| Kąt | Kod PNR |
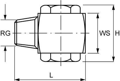
RG inch |
D mm |
D1 mm |
|
H mm |
L mm |
WS mm |
||||||||||||||
|---|---|---|---|---|---|---|---|---|---|---|---|---|---|---|---|---|---|---|---|---|---|---|
| 60° | ATQ 1230 xx | 1/8" | 2.0 | 1.8 |
|
22 | 24 | 15 | ||||||||||||||
| ATQ 1390 xx | 1/4" | 2.4 | 2.2 |
|
25 | 34 | 20 | |||||||||||||||
| ATQ 1490 xx | 2.9 | 2.8 |
|
|||||||||||||||||||
| ATQ 1740 xx | 3.3 | 3.2 |
|
|||||||||||||||||||
| ATQ 2110 xx | 3/8" | 5.1 | 4.6 |
|
27 | 34 | 20 | |||||||||||||||
| 90° | ATU 1230 xx | 1/8" | 2.1 | 1.8 |
|
22 | 24 | 15 | ||||||||||||||
| ATU 1390 xx | 1/4" | 2.5 | 2.1 |
|
25 | 34 | 20 | |||||||||||||||
| ATU 1490 xx | 3.0 | 2.1 |
|
|||||||||||||||||||
| ATU 1620 xx | 3.2 | 3.0 |
|
|||||||||||||||||||
| ATU 1621 xx | 3/8" | 3.5 | 3.2 |
|
27 | 34 | 20 | |||||||||||||||
| ATU 1780 xx | 5.0 | 3.4 |
|
|||||||||||||||||||
| ATU 2110 xx | 5.1 | 4.3 |
|
|||||||||||||||||||
| ATU 2153 xx | 5.3 | 5.2 |
|
|||||||||||||||||||
| ATU 2245 xx | 1/2" | 8.7 | 5.5 |
|
38 | 48 | 30 | |||||||||||||||
| ATU 2315 xx | 8.7 | 6.5 |
|
|||||||||||||||||||
| ATU 2385 xx | 8.8 | 7.2 |
|
|||||||||||||||||||
| ATU 2530 xx | 3/4" | 12.6 | 8.7 |
|
50 | 58 | 40 | |||||||||||||||
| ATU 2770 xx | 12.6 | 11.2 |
|
|||||||||||||||||||
| ATU 2420 xx | 1" | 9.2 | 9.8 |
|
48 | 61 | 42 | |||||||||||||||
| ATU 2645 xx | 10.3 | 10.3 |
|
|||||||||||||||||||
| ATU 2870 xx | 16.0 | 11.5 |
|
|||||||||||||||||||
| 120° | ATW 1310 xx | 1/8" | 2.5 | 2.1 |
|
22 | 24 | 15 | ||||||||||||||
| ATW 1311 xx | 1/4" | 2.5 | 2.1 |
|
25 | 34 | 20 | |||||||||||||||
| ATW 1490 xx | 4.1 | 2.4 |
|
|||||||||||||||||||
| ATW 1491 xx | 3/8" | 4.2 | 2.7 |
|
27 | 34 | 20 | |||||||||||||||
| ATW 1621 xx | 4.5 | 3.2 |
|
|||||||||||||||||||
| ATW 1780 xx | 5.0 | 3.4 |
|
|||||||||||||||||||
| ATW 2110 xx | 5.4 | 4.4 |
|
|||||||||||||||||||
| ATW 2245 xx | 1/2" | 8.5 | 5.5 |
|
38 | 48 | 30 | |||||||||||||||
| ATW 2315 xx | 8.5 | 6.3 |
|
|||||||||||||||||||
| ATW 2231 xx | 3/4" | 8.4 | 5.2 |
|
56 | 59 | 40 | |||||||||||||||
| ATW 2385 xx | 8.8 | 7.3 |
|
|||||||||||||||||||
| ATW 2480 xx | 12.6 | 7.8 |
|
|||||||||||||||||||
| ATW 2770 xx | 14.0 | 10.7 |
|
|||||||||||||||||||
| ATW 2420 xx | 1" | 9.5 | 8.0 |
|
48 | 61 | 42 | |||||||||||||||
| ATW 2645 xx | 12.8 | 9.2 |
|
58 | 61 | 40 | ||||||||||||||||
| ATW 2870 xx | 16.0 | 11.5 |
|
61 | 68 | 45 | ||||||||||||||||
| ATW 3122 xx | 18.0 | 14.0 |
|
66 | 76 | 50 | ||||||||||||||||




